因为这种类型的导线的主要功能是传输信号,所以流过它的电流很小。但是,由于铝的电导率仅为铜的2/3,因此国家标准规定用于传输电能的所有电线和电缆必须由非金属化或镀金属退火铜线制成。
铝线(包括铜包铝)是禁止的。线)作为指挥。
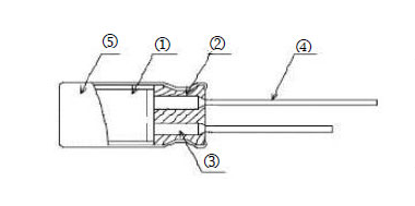
<br> <br>(1)频率信号传输:柔性同轴射频电缆材料;漏电缆的内导体材料;网线内导体材料;微同轴电缆的内导体材料;优选的内导体材料为有线电视同轴电缆50Ω射频电缆,柔性射频同轴电缆内导体材料; (2)动力传递:绞合材料;保险丝材料;电力电缆导体材料;建筑导线材料; (3)母线等导体材料;机车专用电缆导体材料;计算机电缆,控制电缆和其他数据电缆内导体材料; (4)其他领域:音频和视频导体材料;电力线导体材料;电脑周边线材,电脑线缆导体材料。
公司: 深圳市捷比信实业有限公司
电话: 0755-29796190
邮箱: momo@jepsun.com
产品经理: 聂经理
QQ: 2215069954
地址: 深圳市宝安区翻身路富源大厦1栋7楼

更多资讯
获取最新公司新闻和行业资料。
- 铝电解电容器用腐蚀化成铝箔 摘要:铝箔腐蚀和化成是制备铝电容器的一个重要过程,由超纯铝箔经过电化学刻蚀制得腐蚀箔,腐蚀箔经过阳极氧化最终得到化成箔。本文从制备工艺的角度对铝箔化成进行了综述,并对腐蚀扩孔、多级化成、复合箔制备...
- 铝电解电容器用铝箔发展趋势 在电解电容器家族中,铝电解电容器以其优越的性能、低廉的价格和广泛的用途,在过去的20年里在世界范围内得到了很大的发展。以日本为例。 1995年电解电容器用铝箔产量约3000吨。到2001年,产量已达到7万吨至8万吨,几乎以惊...
- 铝电解电容器铝箔开片长度怎么计算 随着社会的快速发展,我国铝电解电容也在快速发展。你知道铝电解电容的详细分析吗?接下来让小编带领大家了解更多相关知识。铝电解电容器是大多数电气设计的重要组成部分,因此正确选择它们是许多成功设计的关键。因...
- 4平方毫米铜芯线每米电阻约为0.00431欧姆 在电气工程领域中,了解电线的电阻对于设计和安装安全有效的电路至关重要。以常见的4平方毫米铜芯线为例,其电阻值是衡量该类型电线性能的重要指标之一。根据铜的标准电阻率,在20°C时,纯铜的电阻率为0.01724 Ω·mm²/m,...
- 铝合金电阻:铝的电阻率 这是一年一度的家庭露营旅行,其中一个手电筒电池有轻微泄漏。您决定与其将其扔进树林中,不如将其包裹起来并帮助防止潜在的火灾。你拿一些铝箔把电池包起来,这样就可以堵住漏水的地方,保护大自然的壮丽。但是,您...
- 铝固体电解电容器(AREC系列)与线艺(LINEART)滤波器产品对比分析 铝固体电解电容器(AREC系列)与线艺(LINEART)滤波器产品对比分析在现代电子设备中,电源管理与信号完整性至关重要。铝固体电解电容器(AREC系列)和线艺(LINEART)滤波器作为关键元器件,在高频电路、通信设备及工业控制...
- 如何根据系统需求合理搭配铝固体电解电容器与线艺滤波器 如何根据系统需求合理搭配铝固体电解电容器与线艺滤波器在现代电子系统设计中,单一元器件难以满足多重性能要求。将铝固体电解电容器(AREC系列)与线艺(LINEART)滤波器协同使用,可在电源管理与信号完整性之间建立高效...
- 液体铝电解电容器和固体铝电解电容器寿命计算公式 液体电解电容器:寿命取决于电解液干燥L = l0 × 2液体电解电容器l0 = 105℃时的使用寿命;以下是液体电解电容器的寿命计算方法:当温度为10 ℃时,电容器的使用寿命延长一倍。105 ℃ 1000小时使用寿命的电容器在85 ℃下...
- 系列压力开关:原包装保障品质与性能 系列压力开关是一种重要的工业设备,通常用于监测和控制各种流体系统中的压力水平。这些开关在出厂时都采用原包装,以确保产品的完整性和性能。原包装不仅能够保护产品免受运输过程中的物理损坏,还能防止环境因素如...
- PCIe数据包交换器在高性能计算中的关键作用 PCIe数据包交换器如何赋能高性能计算系统在高性能计算(HPC)领域,系统的性能瓶颈往往出现在数据传输环节。而PCIe数据包交换器通过优化数据路径设计,成为突破这一瓶颈的核心技术之一。1. 降低通信延迟采用专用硬件加速引...
- PCIe数据包交换器在高性能计算中的应用与优势 在现代高性能计算(HPC)领域,PCIe数据包交换器扮演着至关重要的角色。它是一种专门设计用于连接多个高速设备和处理器的互连解决方案,能够显著提升系统的整体性能和效率。相较于传统的PCIe架构,PCIe数据包交换器通过提...
- 深入解析PCIe数据包交换器:核心技术与应用前景 PCIe数据包交换器的核心功能与技术优势PCIe数据包交换器作为现代高速计算架构中的关键组件,承担着在多个设备间高效传输数据包的重要任务。它不仅支持高带宽、低延迟的数据通信,还具备智能路由和流量管理能力,能够有效...
- 铜热电阻 铜热阻是一种测量温度的仪器,其原理是金属的电阻随着温度的变化而变化。铜热敏电阻根据其保护管结构分为装配式(可拆卸)和铠装式(不可拆卸,内部有铂电阻)。目前,该领域广泛使用的组装型...
- 深入探讨PCIe数据包交换器在AI加速系统中的应用实践 PCIe数据包交换器如何赋能AI算力集群在当前以大模型训练和推理为核心的AI时代,高性能计算平台需要大量异构计算单元协同工作。而PCIe数据包交换器正是实现这些设备高效互联的技术基石。1. 支持多GPU并行计算架构通过使用PCI...
- PCIe数据包交换器与桥接器中的时钟同步机制研究 PCIe数据包交换器与桥接器的时钟同步挑战随着数据中心、AI加速器和高性能计算平台对带宽需求的持续增长,PCIe Gen5已成为主流接口标准。在这些复杂系统中,数据包交换器(Packet Switcher)和桥接器(Bridge)扮演着连接多个子系...
- 锰铜合金电阻 锰铜合金电阻分以下几种形式:1、贴片锰铜合金电阻2、锰铜分流电阻3、锰铜插件电阻...
- 铜镍电阻合金 由于高抗张强度和高电阻值,益利素勒的铜镍合金线成为电阻丝等应用的首选产品。根据铜镍合金产品中镍含量的不同,您可以按照您的特定要求来选择所需的线材特性。我们提供的铜镍合金线可以是裸线,也可以涂覆各种绝缘...
- PCIe Gen5时钟要求详解:数据包交换器与桥接器的性能关键 PCIe Gen5时钟要求概述PCIe Gen5作为最新一代的高速串行总线标准,其数据传输速率已达到每通道32 GT/s(Gigatransfers per second),是Gen4的两倍。在这一高速环境下,时钟信号的稳定性与精确性成为决定系统性能的核心因素之一。尤其对...
- 厂家直销全新61F-D21T-V1欧母龙液位开关 现货供应 包装齐全 我们提供全新的欧母龙61F-D21T-V1型液位开关,该产品为厂家直销,确保了产品的质量和性价比。此款液位开关内外包装齐全,保证了产品的完整性和品质,适合各种需要精确控制液体高度的应用场景。作为现货供应的产品,可以快...
- 铜热电阻的结构 铜热阻主要由接线盒、保护管、接线端子、绝缘套管和感温元件组成。工业用铜热敏电阻可以直接连接到二次仪表上使用。它可以测量液体、蒸汽、气体介质和固体表面在-200℃至420℃的各种生产过程中的...