测量静电消除器性能的主要指标是:静电消除速度:静电消除速度是指静电从±1000V到±100V中和所需的时间。速度越快,性能越好。
离子平衡(最终残留电压):静电在预定时间(通常为20S)内被中和后剩余的电压值,即离子平衡度,离子平衡度优于零。机器稳定性:整机性能指标的长期稳定性决定了静电消除器在长时间工作后是否能保证良好的断电速度和离子平衡。
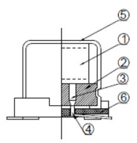
静电消除器的核心部件是高压电源和离子发射器(放电针)。线圈与钢板之间的绕组距离和耦合系数具有非常精确的要求和控制。
变压器的浸入和固定也很特殊。材料和工艺确保最佳性能而不会漂移。
同时,电流静电消除器实现了可以调节离子平衡的功能,即使指标偏移,也可以通过电位器进行校正,从而避免由此引起的损坏和不可修复的缺陷。放电针采用进口材料的钨合金为基材,经特殊工艺抛光,达到最佳的尖端放电效果。
由于它是一种特殊的合金材料,其耐腐蚀性等其他物理性能优越。仔细计算和研究放电针座的形状和放电针的分离距离,以充分确保离子电流的产生并最大限度地避免自我中和。
静电消除器的功能是通过空气电离产生大量的正负电荷,并通过风扇吹出正负电荷。形成正电荷和负电荷以中和物体表面上的电荷。
当物体表面带负电时,它会吸引气流中的正电荷,反之亦然。由此,物体表面上的静电被中和,从而达到消除静电的目的。
根据高压电源,静电消除器可分为直流型和交流型静电消除器,交流型可分为工频交换和高频交换。 DC型和AC型静电消除器之间最鲜明的区别是DC型是一半放电针发出正离子,一半放电针产生相同量的负离子。
一般来说,DC型静电消除器放电针的针数是均匀的,针与针之间的间距相对较大。 AC型是放电针以电源频率(工频或高频)交替产生相同数量的正离子和负离子。
高频交流型静电消除器以非常高的频率产生离子,因此离子电流的密度非常大,因此可以更快地中和静电,并且离子电流可以充分地达到不规则,不规则的位置和角落。静电容量相对快速且强劲。
根据功能和形状,静电消除器可分为离子风扇(离子风扇),离子吹风枪(静电喷枪),离子风蛇,离子(风)杆等,以及上述许多可以通过是否需要外部气源来区分品种。但是,它可以很容易地分为两类。
离子风扇有自己的风扇来承载离子电流。其他静电消除器需要外部压缩空气(空气源必须干燥且干净)。
压缩空气源的类型不仅是静态的,而且是静态的。有除尘和清洁功能。
静电消除器广泛用于电子工业,纺织品,印刷和造纸,橡胶和塑料等。典型应用如下:LCD和TFT背光模块的生产,测试和组装生产和测试相机和其他光敏器件静电在SMT加工过程中保护PCB。
移动电话,PDA和NOTEBOOK的组装和包装。包括消费类电子产品,如手机,笔记本电脑等。
喷涂前后,芯片表面印刷,塑料表面印刷,工业薄膜或塑料纸的薄膜生产,半导体封装测试车间,设备和存储空间的其他拍摄和切割,其他需要静电保护的行业或链接。
公司: 深圳市捷比信实业有限公司
电话: 0755-29796190
邮箱: momo@jepsun.com
产品经理: 聂经理
QQ: 2215069954
地址: 深圳市宝安区翻身路富源大厦1栋7楼

更多资讯
获取最新公司新闻和行业资料。
- ESD静电抑制管与其他防静电产品相比,有哪些优势和劣势? ESD静电抑制管与其他防静电产品相比,具有以下优势和劣势:优势:ESD静电抑制管具有良好的抗静电性能和电磁兼容性能,能够有效地抑制静电放电,保护电子产品免受静电干扰。ESD静电抑制管具有较高的耐压性能,能够承受较...
- 聚合物ESD静电保护管与陶瓷ESD静电保护管的性能对比分析 引言在现代电子设备日益精密化和集成化的背景下,静电放电(ESD)防护已成为保障电路稳定运行的关键环节。聚合物与陶瓷材料作为两种主流的ESD保护元件基材,其在静电保护管中的应用各有优劣。本文将从材料特性、电气性...
- 圆柱贴片型静电突波吸收器应用与优势 在电子设备和电路设计中,静电突波吸收器(ESD吸收器)扮演着至关重要的角色,特别是在保护敏感电子元件免受静电放电损害方面。圆柱贴片型静电突波吸收器作为一种新型的防护装置,结合了传统静电吸收器的优势,并通过...
- 光颉Viking VLH系列电感器:高性价比之选,广泛应用于消费与工业领域 光颉Viking VLH系列电感器:平衡性能与成本的理想之选作为光颉Viking旗下另一款主力产品,VLH系列电感器以出色的性价比、稳定的电气特性以及广泛的适用性,迅速在消费类电子与工业控制市场中占据重要地位。核心亮点一:多样...
- 圆柱贴片型静电突波吸收器:高效防护电子设备的可靠选择 圆柱贴片型静电突波吸收器的核心优势在现代电子系统中,静电放电(ESD)和瞬态电压突波是导致电路损坏的主要原因之一。圆柱贴片型静电突波吸收器凭借其紧凑的结构和卓越的保护性能,已成为各类电子设备中的关键防护元...
- 静电容物位开关原理 静电容物位开关是一种用于检测材料液位的传感器。它的工作原理是基于材料和电极之间的电容变化。 静电容物位开关通常由两个电极组成,一个用作产生电场的发射端,另一个用作接收电场信号的接收端...
- ESD静电抑制管是什么? ESD静电抑制管是一种用于防止静电放电(ESD)损坏电子设备的电路元件。它通常被用在高速数字电路中,以防止由于静电放电而导致的数据损失或电路故障。ESD静电抑制管通常由一个高速电阻和一个二极管组成。当有高电压(例...
- ESD静电抑制管的分类有哪些? ESD静电抑制管可以按照不同的方式进行分类,以下是几种常见的分类方法:电压范围:根据电压范围可以将ESD静电抑制管分为高压ESD静电抑制管和低压ESD静电抑制管。高压ESD静电抑制管的电压范围通常在几百伏至几千伏之间,适...
- ESD静电抑制管有哪些应用场景? ESD静电抑制管主要应用于需要防止静电放电(ESD)损坏的电子设备。具体来说,它们通常应用于以下领域:高速数据传输线: ESD静电抑制管可以在高速数据传输线中提供高速的电流通路,以确保数据传输的稳定性和可靠性。高速...
- 如何选择合适的ESD静电抑制管? 如果您需要选择合适的ESD静电抑制管,需要考虑以下几个方面:电路类型和设备:需要根据电路类型和设备的具体要求来选择合适的ESD静电抑制管。例如,高速数据传输线需要选择能够在高速电路中提供高速电流通路的ESD静电抑...
- ESD静电抑制管的工作原理是什么? ESD静电抑制管的工作原理是通过降低瞬间产生的高电压来保护电子设备免受ESD损坏。当有ESD事件发生时,二极管会迅速导通,将高电压降低到一个安全的水平。同时,高速电阻会在电路中提供一个高速的电流通路,以确保电路的...
- 硅基ESD静电保护管的应用与优势 在电子设备中,静电放电(ESD)是一个常见的问题,它可能对敏感的电子元件造成损害。为了有效防止ESD对电路的影响,ESD保护管成为了不可或缺的组件之一。硅基ESD静电保护管作为其中的一种,凭借其独特的特性和优势,在多...
- 陶瓷ESD静电保护管的应用与优势 在电子设备中,静电放电(Electrostatic Discharge, ESD)是常见的问题,它可能对敏感的电子元件造成损害。陶瓷ESD静电保护管作为一种有效的防护措施,在众多应用中展现出其独特的优势和广泛的应用前景。首先,陶瓷ESD静电保护管...
- 聚合物ESD静电保护管的应用与优势 在电子设备日益小型化和集成化的今天,静电放电(Electrostatic Discharge, ESD)成为威胁电子元件安全的重要因素之一。聚合物ESD静电保护管作为一种有效的防护措施,在众多电子设备中得到了广泛应用。它主要通过提供低电阻路径...
- 深入解析MSS1246与SMFS1206在消费电子中的应用差异 MSS1246与SMFS1206在消费电子领域的应用深度对比随着智能终端产品向轻薄化、多功能化发展,线艺连接器作为关键连接部件,其选型直接影响整机性能与良率。本文聚焦于MSS1246与SMFS1206两种型号在智能手机、平板电脑、智能手表等...
- ESD静电抑制管的选型需要考虑哪些因素? ESD静电抑制管的选型需要考虑以下因素:计算接口信号幅值的范围来确定ESD器件的工作电压;根据信号类型决定使用单向或者双向ESD器件;根据信号速率决定该接口能承受的最大寄生电容;根据电路系统的最大承受电压冲击,选...
- ESD静电抑制管的安装位置有什么要求吗? ESD静电抑制管的安装位置有一定的要求,主要包括以下几点:安装位置应该避免受到阳光直射,以免ESD静电抑制管受到温度的影响。安装位置应该保持清洁,避免ESD静电抑制管受到污染或损伤。安装位置应该与周围的电气设备保...
- XO晶振基础原理与在消费电子中的关键作用 XO晶振的基本工作原理XO晶振(Crystal Oscillator)是利用石英晶体的压电效应产生稳定频率信号的电子元件。当施加电压时,石英晶体发生机械振动,从而输出特定频率的电信号,广泛应用于各类数字系统中作为时钟源。1. 石英晶体...
- 陶瓷ESD静电保护管的原理与应用优势解析 陶瓷ESD静电保护管的工作原理陶瓷ESD静电保护管是一种基于陶瓷材料制成的高性能静电放电(ESD)防护器件,广泛应用于电子设备中以防止静电对敏感元器件造成损害。其核心工作原理是利用陶瓷材料的高绝缘性和非线性伏安特...
- ESD静电抑制管的优点和缺点是什么? ESD静电抑制管具有以下优点和缺点:优点:(1)能够有效地抑制ESD损坏,保护电子设备的安全运行。 (2)能够提高电子设备的可靠性和可维护性。 (3)可以在高速电路中提供高速的电流通路,以确保电路的正常运...